안녕하세요, 텍이 입니다!
PLC #5
오늘은 PLC의
구조에 대해서
간략히 알아보겠습니다.
편의상 문체는 평어체로
하도록 하겠습니다.
PLC는 마이크로프로세서(microprocessor) 및 메모리로 구성되어 인간의 두뇌 역할을 하는 중앙처리장치(CPU),
외부 기기와의 신호를 연결시켜 주는 입·출력부, 각부에 전원을 공급하는 전원부, PLC내의 메모리에 프로그램을
기록하는 주변장치로 구성되어 있다.
1. PLC의 구조

2. CPU 메모리
IC 메모리 종류에는 ROM과 RAM이 있다.
(1) ROM은 읽기 전용으로, 메모리 내용을 변경할 수 없다. 따라서 고정된정보를 써넣으며, 정보는 전원이 끊어져도
기억 내용이 보존되는 비휘발성 메모리이다.
(2) RAM은 메모리에 정보를 수시로 읽고 쓰기가 가능하여 정보를 일시 저장하는 용도로 사용되나 전원이 끊어지면
기억시킨 정보 내용을 상실하는 휘발성 메모리이다. 그러나 필요에 따라 RAM 영역 일부를 배터리 백업에 의하여
비휘발성 영역으로 사용할 수 있다.
프로그램이 완성되어 고정이 되면 ROM에 써넣어 ROM 운전을 할 수 있다. 데이터 메모리는 입 · 출력 릴레이, 보조 릴레이,
타이머와 카운터의 접점상태 및 설정값, 현재값 등의 정보가 저장되는 영역으로 정보가 수시로 바뀌므로 RAM 영역이 사용된다.
* 시스템 메모리는 PLC 제작 회사에서 작성한 시스템 프로그램이 저장되는 영역이다. 이 시스템 프로그램은 PLC의 기능이나 성능을
결정하는 중요한 프로그램으로, PLC 제작 회사에서 직접 ROM에 써 넣는다.
3. 입 · 출력부
① PLC의 입·출력부는 현장의 외부 기기에 직접 접속하여 사용한다.
② PLC 내부는 DC +5(V)의 전원을 사용하지만 입 · 출력부는 다른 전압 레벨을 사용하므로 PLC 내부와 입 · 출력의 접속(interface)은
시스템 안정에 결정적인 요소가 된다.
PLC의 입 · 출력부는 다음의 사항이 요구된다.
Ⓐ 외부 기기와 전기적 규격이 일치해야 한다.
Ⓑ 외부 기기로부터의 노이즈가 CPU 쪽에 전달되지 않도록 해야 한다.
* 포토 커플러(Photo Coupler) 사용
Ⓒ 외부 기기와의 접속이 용이해야 한다.
Ⓓ 입 · 출력의 각 접점 상태를 감시할 수 있어야 한다. (LED 부착) 입력부는 외부 기기의 상태를 검출하거나 조작 판넬을 통해 외부 장치의 움직임을 지시하고 출력부는 외부 기기를 움직이거나 상태를 표시한다.

1) 입력부
① 외부신호와 CPU내부 신호(5V)와의 전위차를 맞추어 주는 일종의 컨버터라 할 수 있으며, 입력부의 신호에 따라 여러 가지의
입력타입을 결정할 수 있다.
② 외부기기로부터의 신호를 CPU의 연산부로 전달해 주는 역할을 한다.
③ 입력의 종류는 DC 24[V], AC 110/220[V]등이 있고, 그 밖의 특수 입력 모듈로는 아날로그 입력(A/D)모듈, 고속 카운터 모듈 등이 있다.

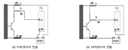
* PLC에 NPN센서와 PNP센서 사용시 입력 결선
3선이상의 타입의 센서 중 PNP, NPN 스타일의 경우
① PNP센서 연결배선은 COM 단자에 0[V]를 연결하고 센서등 입력 장치 입력측에 +24[V]로 신호를 공급할 수 있도록 결선한다.
[그림(a) 참조]
② NPN센서 연결배선은 COM 단자에 +24[V]를 연결하고 센서등 입력 장치 입력측에 0[V]로 신호를 공급할 수 있도록 결선한다.
[그림(b) 참조]

※ 싱크(Sink) 입력
싱크타입은 외부 접속기기(스위치,센서)가 DC전원과 PLC입력모듈의 (+)단자 사이에 위치한다.
즉, 입력신호가 ON될 때 외부 접속기기(스위치,센서)로 부터 PLC입력모듈(단자)로 전류가 흐르게 된다. [그림(a) 참조]
※ 소스(Source) 입력
소스타입은 외부 접속기기(스위치,센서)가 DC전원과 PLC입력모듈의 (-)단자 사이에 위치한다.
즉, 입력신호가 ON될 때 PLC입력모듈(단자)로 부터 외부 접속기기(스위치,센서)로 전류가 흐르게 된다. [그림(b) 참조]

2) 출력부
내부 연산의 처리된 결과를 받아 엑추에이터(Actuator)를 작동시키는 부분으로 외부에 접속된 전자 접촉기나 솔레노이드에 전달하여
구동시키는 부분이다. 출력의 종류에는 릴레이 출력, 트랜지스터 출력, SSR(Solid State Relay)출력 등이 있고, 그 밖의 출력 모듈로는
아날로그 출력(D/A) 모듈, 위치결정 모듈 등이 있다.
(1) 릴레이 출력모듈
대부분의 PLC 출력모듈 역시 외부에서 살펴보면 단자대(Terminal Block) 부분만 보이게 되므로 안쪽의 전자회로는 볼 수 없도록 되어
있으나, 기본적인 구성은 다음과 같다.외부에 연결되는 전원은 DC든 AC든 상관없으며, 부하에 맞는 타입과 전압을 연결하면 된다.
즉, Relay출력 모듈은 전원의 타입, 전압은 무관하지만, 접점당 최대전류는 2[A]이하로 제한된다.

(2) 트랜지스터 출력모듈(싱크타입)
트랜지스터(Transistor)출력 중 싱크타입(NPN)에 대한 그림으로 트랜지스터
(Transistor)를 채용한 카드로, 외부에 연결되는 전원은 반드시 직류(DC)전원이어야 한다. 또한, 입력 가능한 전압은
DC12[V], DC24[V]이며, 싱크타입 이므로 극성에 주의하여 결선하여야 한다.
트랜지스터(Transistor)출력 모듈은 DC전용의 출력모듈로 외부의 전자회로와 직접연결할 수 있을 뿐만 아니라,
릴레이(Relay)출력 모듈보다 On/Off 응답시간이 짧아 고속의 제어가 가능하다.

※ 싱크(Sink) 출력.
PLC 출력 접점이 ON될 때 부하에서 출력 단자로 전류가 유입되는 방식이다. [그림 (a)참조]
※ 소스(Source) 출력.
PLC 출력 접점이 ON될 때 출력 단자로부터 전류가 유입되는 방식이다. [그림 (b)참조]

'PLC' 카테고리의 다른 글
| PLC의 메모리 체계와 종류 (XGI, GLOFA) (5) | 2020.01.31 |
|---|---|
| PLC의 메모리 체계와 종류 (XGK, Master-K) (3) | 2020.01.30 |
| PLC의 변천사와 시대 별 특징 (0) | 2020.01.28 |
| PLC의 역사(탄생 배경)와 현재 적용 분야 (0) | 2020.01.27 |
| PLC와 시퀀스(Sequence)의 차이점 (0) | 2020.01.25 |